您好,欢迎访问连云港恒禄发流体设备有限公司!
AL1401

AL1401

发布时间:2025-03-05 浏览次数:1092人看过

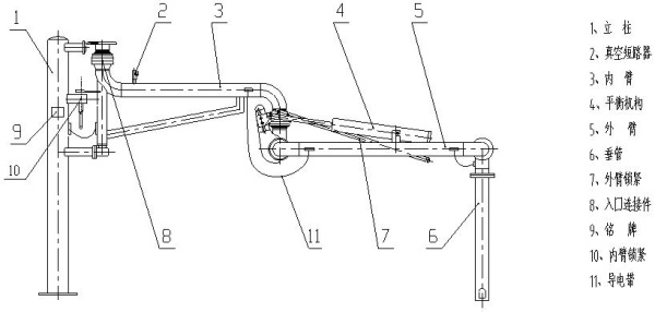
适用介质 适用于原油、重油、成品油、食用油、化工介质、酒类等液体的顶部装车,接口向上

咨询热线:15380262555

产品详情

 型号 AL1401 备注
规格 DN50、DN80、DN100、DN125、DN150  
适用介质 适用于原油、重油、成品油、食用油、化工介质、酒类等液体的顶部装车,接口向上  
设计温度 -40°C-190°C  
设计压力 0.6~2.5MPa  
材质 20#、16Mn、不锈钢

上一篇:AL1403
下一篇:AL2503底部卸车鹤管
返回列表

免费咨询热线

15380262555

周一至周五 08:00 - 20:00

24小时在线咨询

连云港恒禄发流体设备有限公司
手机:15380262555    联系人:王经理    邮箱:henglufa@163.com
地址:江苏省连云港市海州区东盛花园B-1号楼23号
网站网址:http://www.henglufa.com/    苏ICP备2025163019号-3
Copyright © 连云港恒禄发流体设备有限公司  All Rights Reserved.

扫码关注微信

扫码浏览手机站