
15380262555

发布时间:2025-03-05 浏览次数:1008人看过
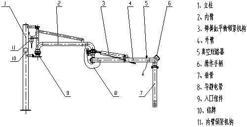
顶部装车鹤管AL1402 技术参数 型号 AL1402 备注 规格 DN50、DN80、DN100、DN125、DN150 适用介质 AL1402顶部装车臂适用于汽、煤、柴油、液态化工介质,水煤浆等的汽、火车顶部装卸。 AL1402衬四氟顶部装车臂适用于强酸、氧化剂、碱等强腐蚀性介质的汽、火车顶部装卸,内衬材料:PTFE、PO等。 设计温度 -40°C-190°C 设计压力 0-2.5MPa 材质 20#、16Mn、不锈钢


扫码关注微信

扫码浏览手机站